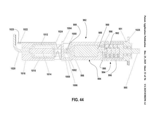
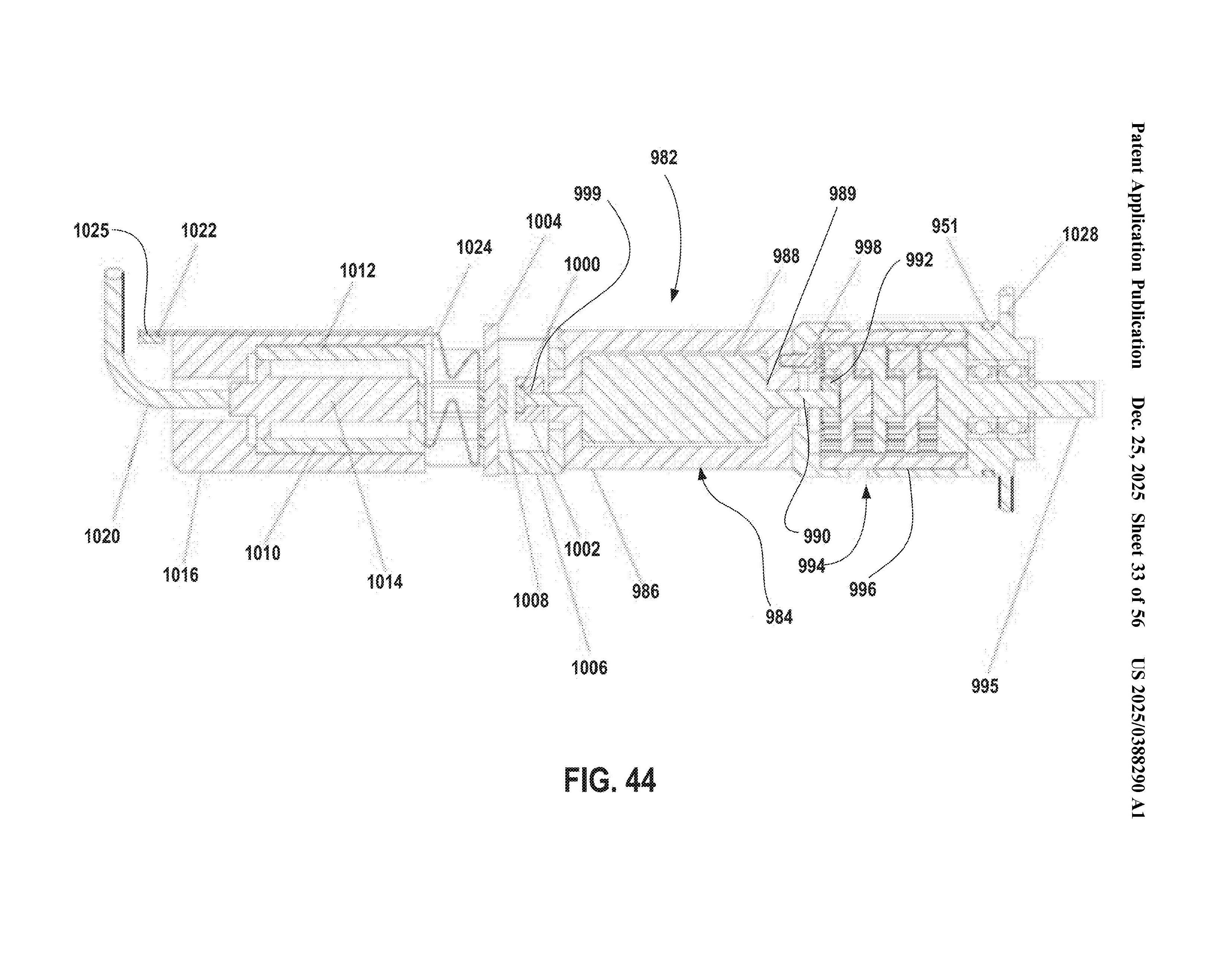
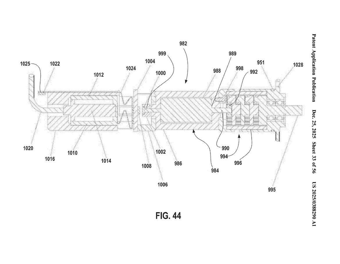
In der Zwischenwelle sitzt der Stellmotor, der die Gänge schaltet und die Nockenwelle relativ zur Zwischenwelle rotiert.
Mehr Fotos im Album "GetriebemotorPatentSRAM":
Harmonische Gangsprünge zwischen den Getriebepaarungen.
Gesamtübersetzung der Patentanmeldung.
US-20250388290-A1 I Seite 42 Bild 0001
In der Zwischenwelle sitzt der Stellmotor, der die Gänge schaltet und die Nockenwelle relativ zur Zwischenwelle rotiert.
US-20250388290-A1 I Seite 33 Bild 0001
Where the magic happens...
So sehen die Sperrklinken selbst aus.
Die Nockenwelle ist fürs Schalten zwischen den Gängen zuständig.
US-20250388290-A1 I Seite 23 Bild 0001
Das Gehäuse hat Öffnungen für die Sperrklinken.

In der Zwischenwelle sitzt der Stellmotor, der die Gänge schaltet und die Nockenwelle relativ zur Zwischenwelle rotiert. im Album GetriebemotorPatentSRAM

Noch keine Kommentare.

nächstes Foto vorheriges Foto L Gefällt mir S Einbetten I Aufnahmedaten O Weitere Aktionen

Foto-Infos

MSTRCHRS
30.12.2025, 10:41
?
523
0
News 2025
GetriebemotorPatentSRAM

Benutzer auf diesem Bild

  • Noch keine User markiert.

Teilen und einbetten

Einbetten mit BBCode oder HTML

Bildgrößen

Foto melden