Unser Netzwerk:
MTB-News
Rennrad-News
eMTB-News
Nimms-Rad
Bikemarkt
Jobs
Events
EN
|
Anmelden
Fotos durchsuchen
Suche abschicken
News
Forum
Fotos
Bikemarkt
Jobs
Daily Deals
Winterpokal
Kategorien
Gruppen
Hochladen
Anmelden
Unser Netzwerk
EN
Newsletter
Podcasts
Shop
Abonnieren…
Team
Werben
Fotos
Geometrics
Events
Winterpokal
Impressum
Werben / Advertise
Datenschutz
Datenschutz-Einstellungen
Kategorien
Gruppen
Hochladen
Anmelden
Fotos durchsuchen
Hochladen
Gruppe
News 2025
: GetriebemotorPatentSRAM
Harmonische Gangsprünge zwischen den Getriebepaarungen.
von
MSTRCHRS
↑
510
0
0
Gesamtübersetzung der Patentanmeldung.
von
MSTRCHRS
↑
537
0
0
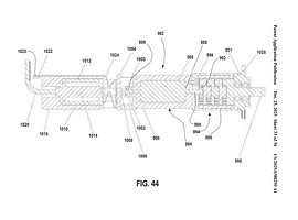
US-20250388290-A1 I Seite 42 Bild 0001
von
MSTRCHRS
↑
477
0
0
In der Zwischenwelle sitzt der Stellmotor, der die Gänge schaltet und die Nockenwelle relativ zur Zwischenwelle rotiert.
von
MSTRCHRS
523
0
0
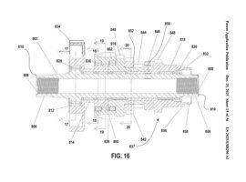
US-20250388290-A1 I Seite 33 Bild 0001
von
MSTRCHRS
449
0
0
Where the magic happens...
von
MSTRCHRS
521
0
0
So sehen die Sperrklinken selbst aus.
von
MSTRCHRS
461
0
0
Die Nockenwelle ist fürs Schalten zwischen den Gängen zuständig.
von
MSTRCHRS
467
0
0
US-20250388290-A1 I Seite 23 Bild 0001
von
MSTRCHRS
543
0
0
Das Gehäuse hat Öffnungen für die Sperrklinken.
von
MSTRCHRS
497
0
0
US-20250388290-A1 I Seite 16 Bild 0001
von
MSTRCHRS
468
0
0
US-20250388290-A1 I Seite 15 Bild 0001
von
MSTRCHRS
438
0
0
Das Getriebe selbst kommt mit 6 Getriebepaarungen und der Antriebspaarung.
von
MSTRCHRS
↑
564
0
0
Die gegenüberliegende Ansicht des Gehäuses zeigt die Bauraum-Entkopplung von E-Antrieb und Getriebe.
von
MSTRCHRS
532
0
0
Der Mittelmotor sitzt gekapselt in seinem Gehäuse und vereint Getriebe und Antrieb.
von
MSTRCHRS
553
0
0
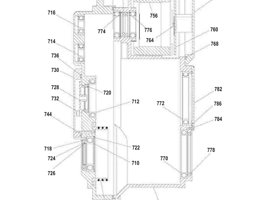
Gehäuse und Lagerung zeigen die Abdichtung des Systems nach außen. Die Vielzahl an Lagern bringt definitiv etwas Gewicht mit sich.
von
MSTRCHRS
↑
550
0
0
US-20250388290-A1 I Seite 08 Bild 0001
von
MSTRCHRS
414
0
0
US-20250388290-A1 I Seite 07 Bild 0001
von
MSTRCHRS
415
0
0
Ist das der neue SRAM Powertrain oder Geartrain?
von
MSTRCHRS
562
0
0
Ob das SRAM-E-MTB der Zukunft komplett auf eine Kettenschaltung verzichtet? Schwer vorstellbar, dass SRAM die Kettenschaltung selbst kannibalisiert.
von
MSTRCHRS
561
0
0
Datum
Aufnahmedatum
Name
Dateiname
Beliebt
Views
Letzter Kommentar
Manuell
20
40
60
Ausgewählte Bilder weitergeben:
HTML-Galerie
BBCode
Selektion aufheben
Verstecken