US-20250388290-A1 I Seite 33 Bild 0001
Mehr Fotos im Album "GetriebemotorPatentSRAM":
Harmonische Gangsprünge zwischen den Getriebepaarungen.
Gesamtübersetzung der Patentanmeldung.
US-20250388290-A1 I Seite 42 Bild 0001
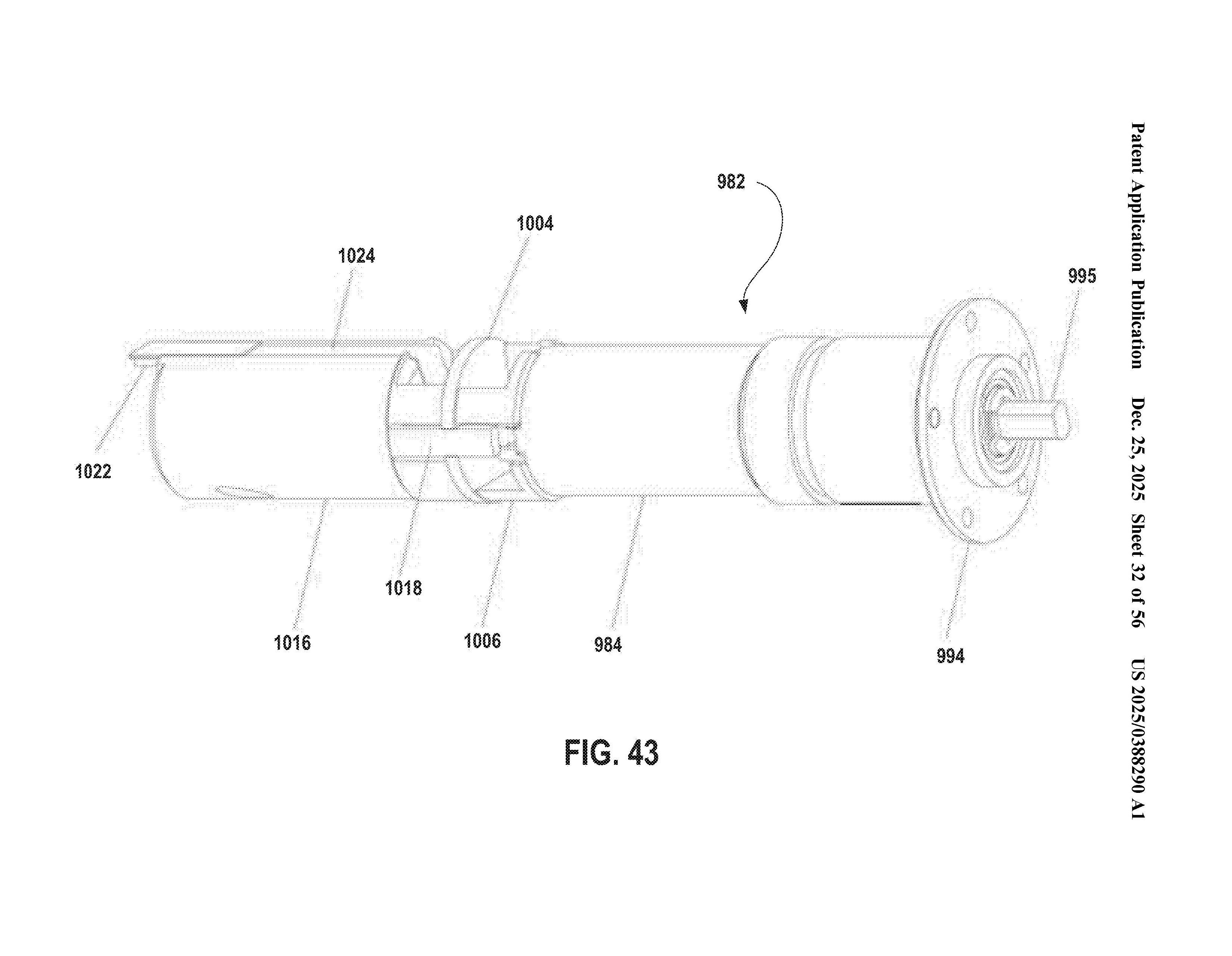
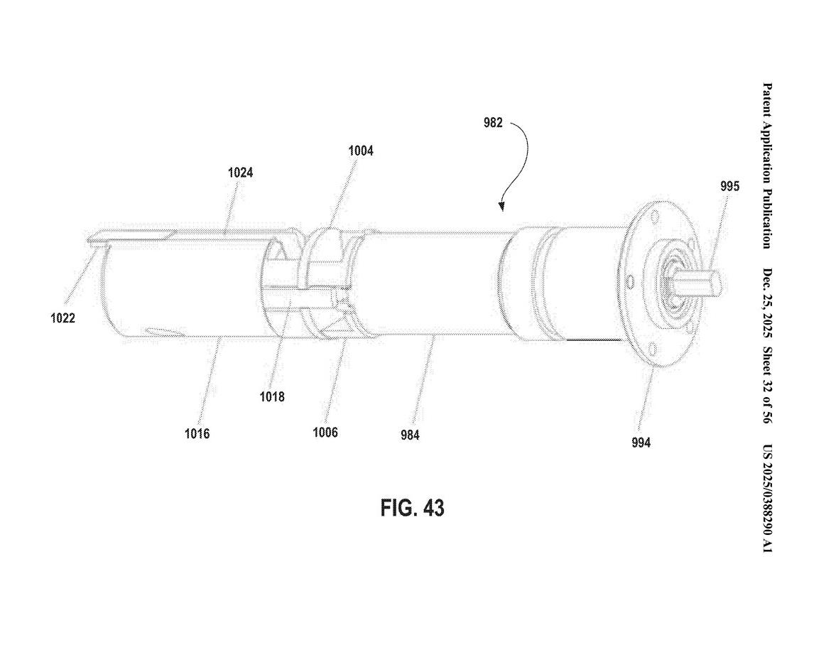
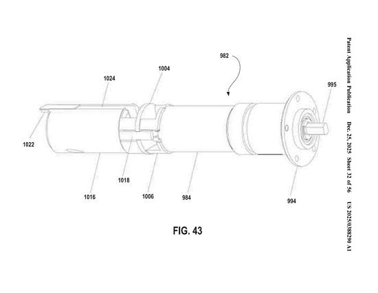
In der Zwischenwelle sitzt der Stellmotor, der die Gänge schaltet und die Nockenwelle relativ zur Zwischenwelle rotiert.
US-20250388290-A1 I Seite 33 Bild 0001
Where the magic happens...
So sehen die Sperrklinken selbst aus.
Die Nockenwelle ist fürs Schalten zwischen den Gängen zuständig.
US-20250388290-A1 I Seite 23 Bild 0001
Das Gehäuse hat Öffnungen für die Sperrklinken.

US-20250388290-A1 I Seite 33 Bild 0001 im Album GetriebemotorPatentSRAM

Noch keine Kommentare.

nächstes Foto vorheriges Foto L Gefällt mir S Einbetten I Aufnahmedaten O Weitere Aktionen

Foto-Infos

MSTRCHRS
30.12.2025, 10:41
?
449
0
News 2025
GetriebemotorPatentSRAM

Benutzer auf diesem Bild

  • Noch keine User markiert.

Teilen und einbetten

Einbetten mit BBCode oder HTML

Bildgrößen

Foto melden