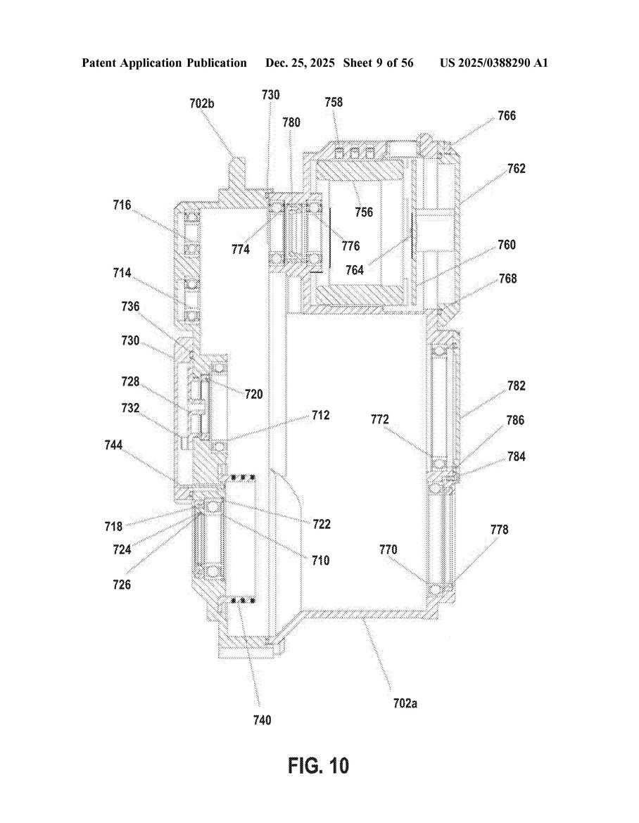
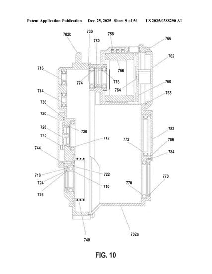
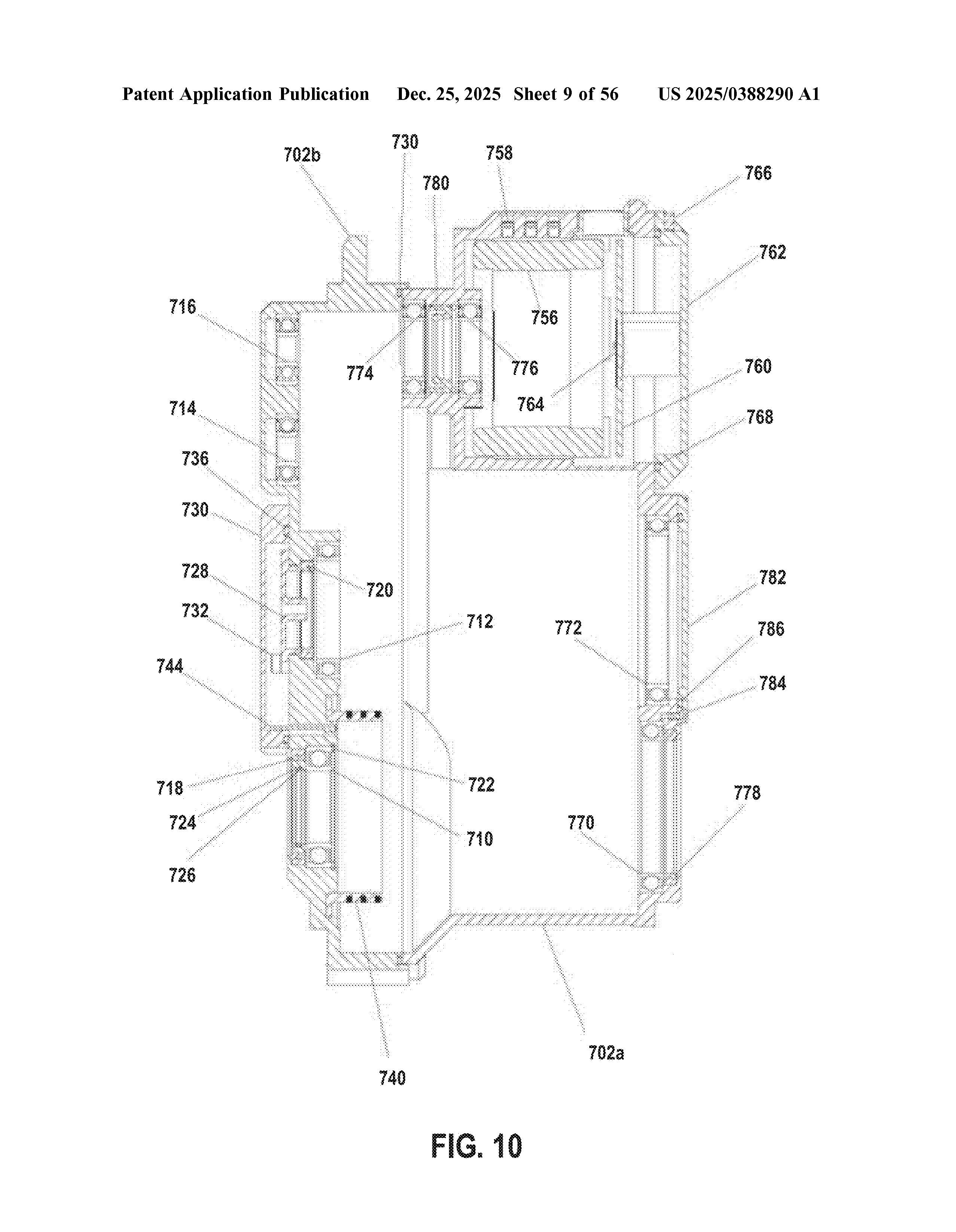
Gehäuse und Lagerung zeigen die Abdichtung des Systems nach außen. Die Vielzahl an Lagern bringt definitiv etwas Gewicht mit sich.
Mehr Fotos im Album "GetriebemotorPatentSRAM":
US-20250388290-A1 I Seite 15 Bild 0001
Das Getriebe selbst kommt mit 6 Getriebepaarungen und der Antriebspaarung.
Die gegenüberliegende Ansicht des Gehäuses zeigt die Bauraum-Entkopplung von E-Antrieb und Getriebe.
Der Mittelmotor sitzt gekapselt in seinem Gehäuse und vereint Getriebe und Antrieb.
Gehäuse und Lagerung zeigen die Abdichtung des Systems nach außen. Die Vielzahl an Lagern bringt definitiv etwas Gewicht mit sich.
US-20250388290-A1 I Seite 08 Bild 0001
US-20250388290-A1 I Seite 07 Bild 0001
Ist das der neue SRAM Powertrain oder Geartrain?
Ob das SRAM-E-MTB der Zukunft komplett auf eine Kettenschaltung verzichtet? Schwer vorstellbar, dass SRAM die Kettenschaltung selbst kannibalisiert.

Gehäuse und Lagerung zeigen die Abdichtung des Systems nach außen. Die Vielzahl an Lagern bringt definitiv etwas Gewicht mit sich. im Album GetriebemotorPatentSRAM

Noch keine Kommentare.

nächstes Foto vorheriges Foto L Gefällt mir S Einbetten I Aufnahmedaten O Weitere Aktionen

Foto-Infos

MSTRCHRS
30.12.2025, 10:40
?
597
0
News 2025
GetriebemotorPatentSRAM

Benutzer auf diesem Bild

  • Noch keine User markiert.

Teilen und einbetten

Einbetten mit BBCode oder HTML

Bildgrößen

Foto melden